Hjem / Maskiner & værktøj / Håndværktøj / Tænger / Låseringstænger / Bahco Seegerringstang 2890 indvendig, bøjet
Bahco Seegerringstang 2890 indvendig, bøjet
Bahco Seegerringstang 2890 indvendig, bøjet
Bahco Seegerringstang 2890 indvendig, bøjet
Bahco
Black Week

Bahco Seegerringstang 2890 indvendig, bøjet

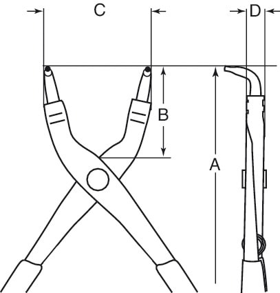
Indvendige låseringstænger med 90° forskydningskæber og fosfateret udførelse, 127 mm
Fra 179 kr

Dette produkt kan kun købes i grupper af 1 stk.

Forsendelsesomkostninger 65 kr

  • 30 dages returret
  • Dansk kundeservice
  • Levering i hele Danmark

Produktspecifikation:

  • Låsering type
    Indvendig
  • VaremærkeBahco
  • KategoriLåseringstænger

Produktbeskrivelse

  • Til håndtering af indvendige låseringe
  • PVC-belagte håndtag
  • 90° lige forskydningskæber, smedede spidser
  • Højtlegeret stål
  • Fosfateret udførelse, rustbeskyttet
  • Til indvendige låseringe
  • Form: 90° lige forskydningskæber, smedede spidser
  • Uden returfjeder